Lees de volgende instructies voordat u inktcartridges vervangt.
Bewaar de inktpatronen bij normale kamertemperatuur en houd ze uit de buurt van direct zonlicht.
Het is raadzaam de cartridge te gebruiken vóór de datum die op de verpakking wordt vermeld.
Voor de beste resultaten bewaart u inktpatroonverpakkingen met de onderkant naar beneden.
Nadat u een inktcartridge uit koude opslag haalt, moet u deze minstens 12 uur laten opwarmen tot kamertemperatuur voordat u deze gebruikt.
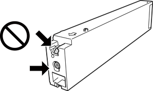
Raak de in de figuur getoonde onderdelen niet aan. Omdat dit de normale werking kan schaden.

Installeer alle cartridges, anders kunt u niet afdrukken.
Schakel de printer niet uit terwijl de inkt wordt geladen. Als het laden van de inkt niet wordt voltooid, kunt u mogelijk niet afdrukken.
Zorg dat er altijd inktcartridges in de printer zijn geplaatst en schakel de printer niet uit tijdens het vervangen van inktcartridges. Anders droogt de inkt uit die in de spuitkanaaltjes van de printkop achterblijft en kunt u mogelijk niet afdrukken.
Als u een inktcartridge tijdelijk moet verwijderen, zorgt u dat u het inkttoevoergebied beschermt tegen vuil en stof. Bewaar de inktcartridge op dezelfde plaats als de printer, met de inkttoevoerpoort naar de zijkant. Omdat de inkttoevoerpoort is uitgerust met een klep die is ontworpen om het vrijgeven van een teveel aan inkt tegen te houden, hoeft u zelf geen afdekkingen of dop te verschaffen.
Bij verwijderde cartridges kan er inkt rondom de inkttoevoer zitten. Wees dus voorzichtig dat er geen inkt in de omgeving van de cartridge wordt gemorst wanneer de cartridges worden verwijderd.
Deze printer gebruikt inktcartridges die zijn uitgerust met een groene chip die informatie bijhoudt, zoals de hoeveelheid resterende inkt voor elke inktcartridge. Dit betekent dat zelfs wanneer de inktcartridge uit de printer wordt verwijderd voordat deze leeg is, u de inktcartridge nog steeds kunt gebruiken nadat u deze weer in de printer plaatst.
Voor een optimale afdrukkwaliteit en bescherming van de printkop blijft een variabele inktreserve in de cartridge achter op het moment waarop de printer aangeeft dat u de cartridge moet vervangen. De opgegeven capaciteiten bevatten deze reserve niet.
De cartridges kunnen gerecycled materiaal bevatten. Dit is echter niet van invloed op de functies of prestaties van de printer.
Specificaties en uiterlijk van het inktpatroon zijn onderhevig aan wijziging zonder voorafgaande kennisgeving voor verbetering.
Haal de inktcartridges niet uit elkaar en breng geen wijzigingen aan cartridges aan. Daardoor kan normaal afdrukken onmogelijk worden.
De opgegeven capaciteit hangt af van de afbeeldingen die u afdrukt, het papier dat u gebruikt, hoe vaak u afdrukt en de omgeving (bijvoorbeeld temperatuur) waarin u de printer gebruikt.
Laat de cartridge niet vallen en stoot deze niet tegen harde voorwerpen, omdat hierdoor inkt kan lekken.
Voor optimale prestaties van de printkop wordt er niet alleen tijdens het afdrukken inkt uit alle cartridges gebruikt, maar ook tijdens onderhoudsactiviteiten, zoals reiniging van de printkop.
De inkt in de inktcartridge die bij de printer is geleverd, wordt deels verbruikt bij de installatie van de printer. De printkop in uw printer is volledig met inkt geladen om afdrukken van hoge kwaliteit te bezorgen. Bij dit eenmalige proces wordt een bepaalde hoeveelheid inkt verbruikt. Met deze cartridge kunnen daarom wellicht minder pagina's worden afgedrukt dan met volgende inktcartridges.