Przed wymianą pojemników z tuszem należy się zapoznać z następującymi instrukcjami.
Pojemniki z tuszem należy przechowywać w temperaturze pokojowej i chronić przed bezpośrednim działaniem promieni słonecznych.
Firma Epson zaleca zużycie pojemnika z tuszem przed upływem daty wydrukowanej na opakowaniu.
Aby uzyskać najlepsze wyniki, należy przechowywać opakowania pojemników z tuszem dnem skierowanym do dołu.
Jeżeli pojemnik z tuszem był przechowywany w niskiej temperaturze, przed użyciem należy go zostawić w temperaturze pokojowej na co najmniej 12 godzin.
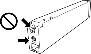
Nie należy dotykać obszarów przedstawionych na ilustracji. Można w ten sposób uniemożliwić drukowanie i normalne działanie urządzenia.

Zainstalowane muszą być wszystkie pojemniki z tuszem. W przeciwnym razie drukowanie nie będzie możliwe.
Nie należy wyłączać drukarki podczas napełniania tuszem. Jeśli napełnianie tuszem nie zostanie zakończone, drukowanie może nie być możliwe.
Nie zostawiać drukarki bez włożonego pojemnika z tuszem i nie wyłączać drukarki w trakcie jego wymiany. W przeciwnym razie tusz pozostały w dyszach głowicy drukującej wyschnie, uniemożliwiając drukowanie.
Jeśli konieczne jest czasowe wyjęcie pojemnika z tuszem, należy sprawdzić, czy obszar dostarczania tuszu został zabezpieczony przed kurzem i brudem. Pojemnik z tuszem należy przechowywać w tym samym środowisku, co drukarkę, z portem dostarczania tuszu skierowanym na bok. Ponieważ port dostarczania tuszu jest wyposażony w zawór służący do gromadzenia nadmiaru tuszu, wszelkie osłony i zatyczki są zbędne.
Na wyjętych pojemnikach wokół portu dostarczania tuszu może znajdować się tusz. Należy uważać, aby podczas wymiany pojemników nie przenieść tuszu na otaczające przedmioty.
Ta drukarka wykorzystuje wkłady z tuszem wyposażone w „zielony” układ scalony, który monitoruje informacje takie jak pozostała ilość tuszu w każdym wkładzie. Oznacza to, że nawet jeśli pojemnik zostanie usunięty z drukarki, zanim zostanie wyczerpany, można go używać po ponownym włożeniu do drukarki.
Gdy wyświetlany jest komunikat o konieczności wymiany, w pojemniku znajduje się pewna ilość rezerwowa tuszu. W ten sposób zapewniona jest niezmiennie najwyższa jakość wydruku i ochrona głowicy drukującej. Podana wydajność nie obejmuje tej rezerwy.
Pojemniki z tuszem mogą zawierać materiały ponownie przetworzone, jednak nie wpływa to na funkcjonowanie czy wydajność drukarki.
Ze względu na udoskonalenia dane techniczne i wygląd pojemnika z tuszem mogą się zmieniać bez wcześniejszego powiadomienia.
Nie demontować ani nie przerabiać pojemnika z tuszem. Można w ten sposób uniemożliwić normalne drukowanie.
Podana wydajność może się różnić w zależności od rodzaju drukowanych obrazów, używanego papieru, częstotliwości drukowania i warunków środowiskowych, np. temperatury.
Nie upuszczać pojemnika ani uderzać twardymi przedmiotami. Można w ten sposób spowodować wyciek tuszu.
Aby zapewnić optymalną wydajność głowicy drukującej, część tuszu z niektórych pojemników jest zużywana nie tylko podczas drukowania, ale również podczas wykonywania czynności konserwacyjnych, takich jak czyszczenie głowicy drukującej.
Tusz w pojemniku dołączonym do produktu jest częściowo zużywany podczas pierwszej instalacji. Aby uzyskać wydruki wysokiej jakości, głowica drukująca drukarki zostanie w całości napełniona tuszem. Podczas tego jednorazowego procesu zużywana jest pewna ilość tuszu, w związku z czym przy użyciu tego pojemnika drukowana jest mniejsza liczba stron, niż przy użyciu następnych.