
|
|
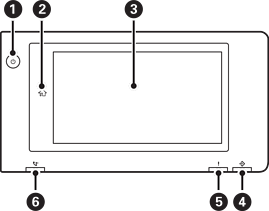
Przycisk zasilania Kontrolka zasilania |
|
|
Przycisk ekranu głównego Powrót do ekranu głównego. |
|
|
Ekran dotykowy Wyświetla pozycje i komunikaty ustawienia. Jeśli przez pewien okres czasu nie są wykonywane żadne działania, drukarka wchodzi w tryb uśpienia i wyłącza się wyświetlacz. Dotknij w dowolnym miejscu ekranu, aby włączyć wyświetlacz. W zależności od bieżących ustawień naciśnięcie przycisku zasilania powoduje wyłączenie trybu uśpienia drukarki. |
|
|
Lampka danych Miga, kiedy drukarka przetwarza dane i włącza się, kiedy zadania czekają na przetworzenie. |
|
|
Lampka błędu Lampka świeci lub miga, gdy wystąpi błąd. Wyświetla na ekranie ewentualne błędy. |
|
|
Lampka odbioru faksu Włącza się, kiedy otrzymane dokumenty nie zostały jeszcze przetworzone. |
Istnieje możliwość przechylenia panelu sterowania.
