> Folosirea elementelor opționale > Dispozitiv de finisare și capsare (Staple Finisher) > Denumirea componentelor unității de finisare cu capsare

Denumirea componentelor unității de finisare cu capsare

Nr.

Element opțional

Prezentare generală

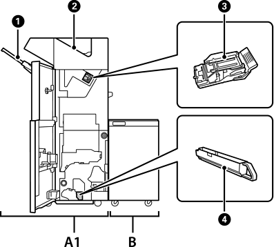
A1

Staple Finisher

Sortează și capsează hârtia înainte de a o evacua. Efectuează găuri folosind unitatea de perforare opțională.

B

Finisher Bridge Unit

Pentru a opera unitatea de finisare cu capsare sau unitatea de finisare broșură, trebuie să instalați unitatea punte de finisare.

Tavă unitate de finisare

Conține documente sortate sau capsate.

Tavă de ieșire

Depozitează în principal faxurile recepționate.

Cartuș de capse

Pentru legare plată.

Tavă pentru reziduuri de perforare

Colectează resturile de hârtie rămase în urma perforării.