Citiți următoarele instrucțiuni înainte de a înlocui cartușele de cerneală.
Depozitaţi cartuşele de cerneală la temperatura camerei şi feriţi-le de lumina solară directă.
Epson recomandă utilizarea cartuşelor de cerneală înainte de data imprimată pe ambalaj.
Pentru a obţine cele mai bune rezultate, depozitaţi ambalajele în care se găsesc cartuşele de cerneală cu partea inferioară a cartuşului în jos.
După aducerea unui cartuș de cerneală într-o locație interioară dintr-un loc de depozitare rece, permiteți încălzirea cartușului la temperatura camerei timp de minim 12 ore înainte de utilizarea acestuia.
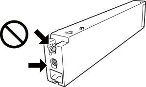
Nu atingeţi secţiunile indicate în figură. Această acţiune poate împiedica funcţionarea şi tipărirea normală.

Instalați toate cartușele de cerneală; în caz contrar nu puteți tipări.
Nu opriţi imprimanta în timpul efectuării operaţiei de încărcare cu cerneală. Dacă operaţia de încărcare cu cerneală nu s-a terminat, nu veţi putea tipări.
Nu lăsați imprimanta cu cartușul de cerneală scos și nu opriți imprimanta în timp ce efectuați operația de înlocuire a cartușului. În caz contrar, cerneala rămasă pe duzele capului de imprimare se poate usca și nu veți putea tipări.
Dacă trebuie să scoateți temporar un cartuș de cerneală, protejați zona de alimentare cu cerneală de mizerie și praf. Depozitați cartușul de cerneală în același mediu cu imprimanta, menținând portul de alimentare cu cerneală orientat lateral. Deoarece portul de alimentare a cernelii este prevăzut cu o valvă proiectată pentru a păstra excesul de cerneală scurs, nu trebuie să folosiți propriile dumneavoastră capace sau ștechere.
Scoateţi cartuşele de cerneală care au cerneală în jurul portului de alimentare, având grijă să nu lăsaţi cerneală pe zona din jur când scoateţi cartuşele.
Această imprimantă utilizează cartușe de cerneală prevăzute cu un cip verde care monitorizează informații precum cantitatea de cerneală rămasă în fiecare cartuș. Deci, chiar dacă respectivul cartuș este scos din imprimantă înainte de a se goli, puteți utiliza cartușul după ce îl reintroduceți în imprimantă.
Pentru a obţine o calitate optimă la tipărire şi pentru a proteja capul de tipărire, în cartuş se păstrează o rezervă de siguranţă de cerneală, având o cantitate variabilă, chiar şi atunci când imprimanta indică necesitatea înlocuirii cartuşului de cerneală. Randamentul indicat pentru dumneavoastră nu include această rezervă.
Cu toate că în componenţa cartuşelor de cerneală sunt incluse materiale reciclabile, acest lucru nu afectează funcţionarea sau performanţele imprimantei.
Specificaţiile şi aspectul cartuşului de cerneală pot fi modificate fără notificare prealabilă, pentru a fi îmbunătăţite.
Nu dezasamblaţi şi nu remodelaţi cartuşul de cerneală; în caz contrar, este posibil să nu puteţi tipări în condiţii normale.
Consumurile indicate pot varia în funcţie de imaginile pe care le tipăriţi, tipul de hârtie folosit, frecvenţa tipăririi şi condiţiile de mediu, precum temperatura.
Nu scăpaţi cartuşul de cerneală din mână şi nu îl loviţi de obiecte dure, deoarece pot apărea scurgeri.
Pentru a asigura performanța optimă a capului de imprimare, o cantitate mică de cerneală este consumată din unele cartușe nu numai în timpul imprimării, dar și în timpul operațiunilor de întreținere cum ar fi curățarea capului de imprimare.
Cartușul de cerneală livrat împreună cu imprimanta este utilizat parțial în timpul configurării inițiale. Pentru a produce documente tipărite de foarte bună calitate, capul de imprimare al imprimantei trebuie să fie complet încărcat cu cerneală. Acest proces consumă o cantitate de cerneală și, ca urmare, acest cartuș poate tipări mai puține pagini în comparație cu cartușele de cerneală ulterioare.