Перед заменой картриджей ознакомьтесь со следующими инструкциями.
Чернильные картриджи следует хранить при комнатной температуре и не допускать попадания на них прямых солнечных лучей.
Компания Epson рекомендует использовать чернильный картридж до даты, указанной на упаковке.
Для достижения наилучших результатов храните упаковки с картриджами дном вниз.
Перед использованием чернильных картриджей, принесенных из холодного склада, их необходимо выдержать в помещении с комнатной температурой в течение как минимум 12 часов.
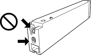
Запрещается касаться частей, показанных на иллюстрации.Это может привести к нарушению нормальной работы принтера.

Установите все чернильные картриджи, в противном случае печать будет невозможна.
Не выключайте принтер во время заправки чернил.Если заправка чернил не завершена, печать может быть невозможна.
Не оставляйте принтер без чернильных картриджей и не выключайте его в процессе их замены. В противном случае чернила, оставшиеся в дюзах печатающей головки, засохнут, и дальнейшая печать будет невозможна.
При временном извлечении картриджа не допускайте попадания грязи и пыли в область подачи чернил. Храните картридж в той же среде, что и принтер; порт подачи чернил должен располагаться сбоку. Так как чернила удерживаются от выливания из картриджа специальным клапаном отверстия для подачи чернил, использовать собственные крышки или пробки не требуется.
Вокруг отверстия для подачи чернил на извлеченных чернильных картриджах может оставаться определенное количество чернил, поэтому будьте осторожны при работе с ними.
В этом принтере используются картриджи, оснащенные зеленой микросхемой, которая отслеживает определенную информацию, например количество оставшихся чернил для каждого картриджа. Это означает, что, даже если картридж извлечен из принтера до его полного использования, его можно будет повторно вставить в принтер и использовать дальше.
Когда принтер предупреждает о необходимости замены картриджа, для обеспечения качества печати и для защиты печатающей головки в картридже остается небольшое резервное количество чернил.Приведенные данные по ресурсу картриджей не включают в себя этот резерв.
Чернильные картриджи могут содержать переработанные материалы, однако это не влияет на работу и производительность принтера.
Характеристики и внешний вид картриджа могут быть изменены без предварительного уведомления в целях усовершенствования.
Не разбирайте и не вносите изменения в конструкцию чернильных картриджей, это может привести к невозможности печати.
Указанные объемы зависят от печатаемых изображений, используемого типа бумаги, частоты печати и таких условий окружающей среды, как температура.
Не роняйте картридж и не стучите им по твердым предметам, поскольку при этом чернила могут вытечь.
Для обеспечения оптимальной производительности печатающей головки некоторое количество чернил из всех картриджей потребляется не только во время печати, но и во время технического обслуживания, например во время очистки печатающей головки.
Чернила в чернильном картридже, поставляемом с принтером, частично используются во время первоначальной настройки. Для обеспечения высокого качества отпечатков печатающая головка устройства будет полностью заправлена чернилами. Этот одноразовый процесс использует определенное количество чернил, поэтому этот картридж может печатать меньшее количество страниц, чем последующие чернильные картриджи.