> Korišćenje opcionih stavki > Uređaj za završnu obradu spajanjem (Staple Finisher) > Nazivi delova uređaja za završnu obradu spajanjem

Nazivi delova uređaja za završnu obradu spajanjem

Br.

Opciona stavka

Pregled

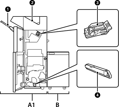
A1

Staple Finisher

Razvrstava i povezuje heftalicom papir pre nego što ga izbaci. Buši papir pomoću opcione jedinice za bušenje papira.

B

Finisher Bridge Unit

Da biste upravljali uređajem za završnu obradu spajanjem ili uređajem za završnu obradu brošura, treba da instalirate naslon uređaja za završnu obradu.

Podmetač uređaja za završnu obradu

Drži poslagane ili spojene dokumente.

Izlazni podmetač

Uglavnom čuva primljene faksove.

Kertridž sa spajalicama

Za ravno povezivanje.

Podmetač za otpad od bušenja

Sakuplja deliće probušenih rupa.