
|
|
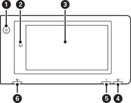
Dugme za uključivanje Lampica napajanja |
|
|
Dugme za početak Vraća vas na početni ekran. |
|
|
Dodirni ekran Prikazuje stavke podešavanja i poruke. Kada se određeno vreme ne izvrši nijedna operacija, štampač ulazi u režim mirovanja i ekran se gasi. Dodirnite bilo koji deo dodirnog ekrana da biste uključili prikaz. U zavisnosti od trenutnih podešavanja, pritiskom na dugme za uključivanje štampač izlazi iz režima mirovanja. |
|
|
Lampica za podatke Treperi kada štampač obrađuje podatke i pali se kada ima zadataka koji čekaju na obradu. |
|
|
Lampica za greške Uključuje se ili treperi kada dođe do greške. Prikazuje sve greške na ekranu. |
|
|
Lampica za prijem faksa Pali se kada primljeni dokumenti još nisu obrađeni. |
Možete nagnuti kontrolnu tablu.
