
|
Nr. |
Tillvalsobjekt |
Översikt |
|---|---|---|
|
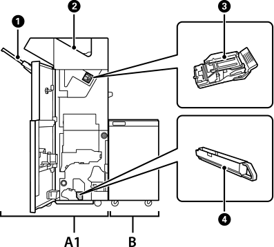
A1 |
Staple Finisher |
Sorterar och häftar papper innan den matar ut det. Stansar hål med den tillvalda hålstansenheten. |
|
B |
Finisher Bridge Unit |
För att använda häftapparaten eller häftesefterbehandlaren måste du installera efterbehandlarenheten. |
|
|
Efterbehandlarfack |
Håller sorterade eller staplade dokument. |
|
|
Utmatningsfack |
Lagrar huvudsakligen mottagna fax. |
|
|
Häftkassett |
För platt häftning. |
|
|
Spillfack för hålslagare |
Samla upp skräp från hålslagaren. |