Läs följande anvisningar innan du ersätter bläckpatroner.
Förvara bläckpatroner i normal rumstemperatur och utsätt dem inte för direkt solljus.
Epson rekommenderar att du använder bläckpatronen före datumet som är tryckt på förpackningen.
För bästa resultat förvarar du bläckpatronspaketen med botten nedåt.
Om du hämtar en bläckpatron från en kall förvaringsplats bör du låta den ligga i rumstemperatur i minst tolv timmar innan du använder den.
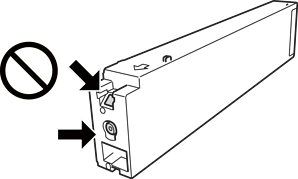
Ta inte på delarna som visas på bilden. Detta kan förhindra normal användning och utskrift.

Installera alla bläckpatroner, annars kan du inte skriva ut.
Stäng inte av skrivaren medan bläcket fylls på. Du kommer inte att kunna skriva ut om bläckpåfyllnaden inte slutförs.
Lämna inte skrivaren utan bläckpatronen och stängs inte av skrivare när du byter bläckpatronen. Annars kan bläcket som finns kvar i skrivhuvudets munstycken torka, och du kan då inte skriva ut.
Se till att du skyddar området för bläcktillgång från smuts och damm om du tillfälligt behöver ta bort en bläckpatron. Förvara bläckpatronen i samma omgivning som skrivaren, med porten för bläcktillgång riktad nedåt eller åt sidan. Eftersom bläckförsörjningsporten har en ventil som är utformad för att hålla kvar överskottsbläck, behöver du inte använda egna lock eller pluggar.
Bläckpatroner som plockats bort kan ha bläck runt den öppning där bläcket sprutar ut. Var därför försiktig så att du inte svärtar ner kläder eller föremål när du tar bort patronerna.
Den här skrivaren använder bläckpatroner med ett grönt chip som övervakar information som hur mycket bläck som finns kvar i varje patron. Det betyder att du fortfarande kan använda patroner som du har tagit bort från skrivaren innan de har tagit slut, genom att sätta in dem på nytt.
Det finns en viss mängd bläck i reserv när produkten indikerar att bläckpatronen ska bytas för att försäkra att du får bästa möjliga utskriftskvalitet och för att skydda skrivarhuvudet. Kapaciteten som anges omfattar inte reserven.
Bläckpatronerna kan innehålla återvunnet material men det påverkar inte skrivarens funktion eller prestanda.
Bläckpatronens specifikationer och utseende kan ändras i syfte att förbättra den utan föregående meddelande.
Ta aldrig isär eller konstruera om bläckpatronen. Det kan leda till att det inte går att skriva ut på normalt sätt.
De uppgivna värdena kan variera beroende på vilken typ av bilder som skrivs ut, vilken typ av papper som används, hur ofta utskrift sker samt omgivningsförhållanden som temperatur.
Tappa den inte eller slå den mot hårda objekt, då kan bläck läcka ut.
För att upprätthålla optimal skrivhuvudsprestanda så används en del bläck från vissa patroner inte bara vid utskrift utan även i samband med underhållsfunktioner som vid rengöring av skrivhuvud.
Bläckpatronen som medföljer produkten används delvis under grundinstallationen. Skrivhuvudet i skrivaren laddas helt med bläck för att producera utskrifter av hög kvalitet. Den här engångsprocessen förbrukar en viss mängd bläck och därför skriver denna bläckpatron eventuellt ut färre sidor än efterföljande bläckpatroner.