Soma maelekezo yafuatayo kabla ya kubadilisha vibweta vya wino.
Hifadhi katriji za wino katika halijoto ya kawaida ya chumba na uziweke mbali na mwale wa jua wa moja kwa moja.
Epson inapendekeza utumie katriji ya wino kabla ya tarehe iliyochapishwa kwenye pakiti.
Kwa matokeo mazuri zaidi, hifadhi pakiti za katriji za wino upande wa chini ukiwa chini.
Baada ya kuleta kibweta cha wino ndani kutoka eneo, iwache ipate joto kwa halijoto ya chumba kwa angalau saa 12 kabla ya kuitumia.
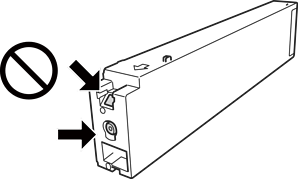
Usiguse sehemu zinazoonyeshwa kwenye picha. Kufanya hivyo kunaweza kuzuia utendaji na uchapishaji wa kawaida.

Funga katriji zote za wino; la zivyo hutaweza kuchapisha.
Usizime printa wakati wa kunyonya wino. Ikiwa unyonyaji wa wino haujakamilika, huwezi kuchapisha.
Usiache kichapishi kikiwa na katriji za wino zimeondolewa au usizime kichapishi wakati wa kubadilisha katriji. Vinginevyo, wino unaosalia kwenye nozeli za kichwa cha kuchapisha utakauka na huenda usiweze kuchapisha.
Ikiwa unahitaji kuondoa katriji ya wino kwa muda, hakikisha umelinda eneo la kutoa wino kutokana na uchafu na vumbi. Hifadhi kibweta cha wino katika mazingira sawa na kichapishi, lango la kutoa wino likiwa linaangalia chini au kando. Kwa sababu lango la kutoa wino lina vali iliyoundwa kuzuia utoaji zaidi wa wino, hakuna haja ya kutumia vifuniko au plagi zako mwenyewe.
Katriji za wino zilizoondolewa huenda zikawa na wino kando ya lango la kutoa wino, kwa hivyo kuwa mwangalifu usipake wino wowote kwenye eneo lililo kando wakati wa kuondoa katriji.
Printa hii hutumia katriji zilizo na chipu ya kijani inayofuatilia maelezo kama vile kiwango cha wino kinachobakia kwa kila katriji. Hii inamaanisha kwamba hata kama katriji imeondolewa kutoka kwa printa kabla ya kumalizika, bado unaweza kutumia katriji hiyo baada ya kuiingiza upya katika printa.
Ili kuhakikisha unapata uchapishaji wa ubora wa juu na kusaidia kulinda kicha chako cha uchapishaji, akiba tofauti ya usalama ya wino hubakia katika katriji wakati printa yako inakuonyesha unafaa kubadilishwa katriji. Viwango vilivyoandikwa havijumuishi akiba hii.
Ingawa katriji za wino huenda zikawa na nyenzo zilizorejelezwa, hii haiathiri ufanyaji kazi au utendaji wa printa.
Sifa na sura ya katriji ya wino zinaweza kubadilishwa bila notisi ili kuoboresha.
Usifungue au kubadilisha modeli ya katriji ya wino, la sivyo huenda usiweze kuchapisha kwa kawaida.
Viwango viliandikwa vinaweza kuwa tofauti kulingana na picha unazochapisha, aina ya karatasi unayotumia, marudio ya uchapishaji na hali ya mazingisa kama vile halijoto.
Usiiangushe au kuigongesha katika vitu vugumu; la sivyo wino unaweza kuvuja.
Ili kudumisha utendaji mzuri wa kichwa cha kuchapisha, kiasi fulani cha wino hutumiwa kutoka kwa katriji zote za wino na sio wakati wa uchapishaji tu lakini pia wakati wa kufanya ukarabati kama vile usafishaji wa kichwa cha kichapisha.
Wino katika katriji za wino zilizokuja na kichapishi chako zimetumwa kwa kiasi fulani wakati wa usanidi wa mwanzo. Ili uchapishe nakala za hali ya juu, kichwa cha kuchapisha kilicho katika kichapioshi chako kitajazwa wino. Mchakato huu wa mara moja hutumia kiasi cha wino na basi katriji hizi zinaweza kuchapisha kurasa chache kulingana na katriji za wino zitakazofuata.