
|
|
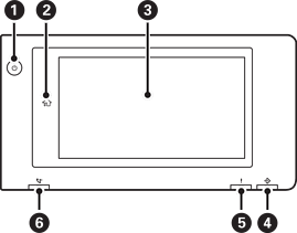
Kitufe cha nishati Mwangaza wa nishati |
|
|
Kitufe cha nyumbani Hukurudisha kwenye skrini ya nyumbani. |
|
|
Skrini mguso Huonyesha vipengee na ujumbe wa mpangilio. Wakati hakuna operesheni zinazotekelezwa kwa kipindi bainifu cha muda, kichapishi kinaingia modi ya kulala na onyesho linazima. Donoa mahali popote kwenye skrini mguso ili kuwasha onyesho. Kulingana na mipangilio ya sasa, kubonyeza kitufe cha nishati huwasha kichapishi kutoka kwenye modi ya kulala. |
|
|
Mwangaza wa data Hutoa mwake wakati kichapishi kinachakata data, na huwaka wakati kuna kazi zinazosubiri kuchakatwa. |
|
|
Mwangaza wa kosa Huwaka au kutoa mwake wakati kosa hutokea. Huonyesha makosa yoyote kwenye skrini. |
|
|
Mwangaza wa mapokezi ya faksi Huwaka wakati nyaraka ambazo hazijachakatwa hupokewa. |
Unaweza kuinamisha paneli ya udhibiti.
