> การใช้รายการอุปกรณ์ซื้อเพิ่ม > อุปกรณ์การเข้าเล่มด้วยลวดเย็บ (Staple Finisher) > ชื่อชิ้นส่วนของชุดตัวเสร็จสิ้นงานการเย็บเล่ม

ชื่อชิ้นส่วนของชุดตัวเสร็จสิ้นงานการเย็บเล่ม

หมายเลข

รายการอุปกรณ์เสริม

ภาพรวม

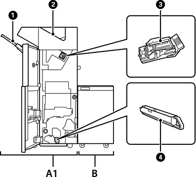
A1

Staple Finisher

จัดเรียงและเย็บเล่มกระดาษก่อนดันออก เจาะรูโดยใช้ชุดเจาะรูที่เป็นอุปกรณ์ซื้อเพิ่ม

B

Finisher Bridge Unit

เพื่อใช้งานชุดตัวเสร็จสิ้นงานการเย็บเล่มหรือชุดตัวเสร็จสิ้นงานแผ่นพับ คุณจะต้องติดตั้งชุดเชื่อมต่อตัวเสร็จสิ้นงาน

ถาดของชุดตัวเสร็จสิ้นงาน

รองรับเอกสารที่จัดเรียงแล้วหรือเย็บด้วยลวดเย็บ

ถาดรับกระดาษออก

จัดเก็บแฟกซ์ขาเข้าเป็นหลัก

ตลับลวดเย็บ

สำหรับการเย็บเล่มแบบเรียบ

ถาดเศษกระดาษเจาะรู

รวบรวมเศษกระดาษจากการเจาะรู