อ่านคำแนะนำต่อไปนี้ก่อนการเปลี่ยนตลับหมึก
จัดเก็บตลับหมึกไว้ที่อุณหภูมิห้องปกติและเก็บรักษาไว้ให้ห่างจากแสงอาทิตย์ส่องถึงโดยตรง
Epson ขอแนะนำให้ใช้ตลับหมึกก่อนที่วันที่ที่ระบุไว้บนบรรจุภัณฑ์
เพื่อผลลัพธ์ที่ดีที่สุด ให้จัดเก็บบรรจุภัณฑ์ของตลับหมึกไว้โดยให้ด้านล่างวางลง
หลังจากนำตลับหมึกมาจากสถานที่จัดเก็บแล้วที่มีความหนาวเย็นแล้ว ทิ้งไว้ให้อุ่นที่อุณหภูมิห้องเป็นเวลาอย่างน้อย 12 ชั่วโมงก่อนการใช้งาน
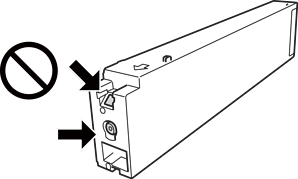
อย่าสัมผัสกับส่วนที่แสดงดังในภาพตัวอย่าง การกระทำดังกล่าวอาจขัดขวางการทำงานปกติและการพิมพ์ได้

ติดตั้งตลับหมึกทั้งหมด มิฉะนั้นคุณไม่สามารถพิมพ์งานได้
อย่าปิดเครื่องพิมพ์ในระหว่างการชาร์จหมึกเข้าไป ถ้าการชาร์จหมึกเข้าไปไม่สมบูรณ์ คุณอาจจะไม่สามารถทำการพิมพ์ได้
อย่าทิ้งเครื่องพิมพ์ในสภาพที่ตลับหมึกถอดออก หรืออย่าปิดเครื่องพิมพ์ในระหว่างการเปลี่ยนตลับหมึก มิฉะนั้นหมึกที่เหลืออยู่ในหัวฉีดของหัวพิมพ์จะแห้งและคุณอาจไม่สามารถทำการพิมพ์ได้
ถ้าคุณต้องการถอดตลับหมึกออกชั่วคราว ตรวจสอบให้แน่ใจว่าคุณได้ป้องกันพื้นที่จ่ายหมึกจากสิ่งสกปรกและฝุ่นแล้ว จัดเก็บตลับหมึกในสภาพแวดล้อมเดียวกับกับเครื่องพิมพ์ โดยให้พอร์ตจ่ายหมึกหันออกด้านข้าง เนื่องจากพอร์ตจ่ายหมึกถูกติดตั้งไว้ด้วยวาล์วที่ออกแบบมาในการระบายหมึกส่วนเกินออก ไม่มีความจำเป็นในการหาฝาครอบหรือปลั๊กของคุณเอง
ตลับหมึกที่ถอดออกอาจจะมีความเสี่ยงรอบๆ พอร์ตจ่ายหมึก ดังนั้นพึงระมัดระวังอย่าให้หมึกออกมาบนพื้นที่รอบๆ เมื่อทำการถอดตลับหมึกออก
เครื่องพิมพ์นี้ใช้ตลับหมึกที่ติดตั้งมากับชิบสีเขียวที่เฝ้าดูข้อมูล เช่น ปริมาณของหมึกที่เหลืออยู่สำหรับแต่ละตลับ นี่หมายความว่าแม้ว่าตลับหมึกจะถูกถอดออกมาแล้วจากเครื่องพิมพ์ก่อนที่จะใช้หมด คุณก็ยังคงใช้ตลับหมึกได้หลังจากใส่กลับเข้าไปใหม่ในเครื่องพิมพ์
ในการทำให้แน่ใจว่าคุณได้รับคุณภาพการพิมพ์สูงสุดและเพื่อช่วยป้องกันหัวพิมพ์ของคุณ มีสารรักษาคุณภาพหมึกหลากหลายชนิดคงอยู่ในตลับหมึกเมื่อเครื่องพิมพ์ของคุณบ่งชี้ว่าต้องทำเปลี่ยนตลับหมึกแล้ว ตัวเลขปริมาณที่สามารถพิมพ์ได้ ไม่ได้รวมถึงหมึกที่เหลือนี้ไว้ด้วย
แม้ว่าตลับหมึกอาจจะประกอบด้วยวัสดุที่รีไซเคิลได้ นี่ไม่มีผลต่อฟังก์ชันการทำงานของเครื่องพิมพ์
ข้อมูลจำเพาะและลักษณะภายนอกของตลับหมึกอาจเปลี่ยนแปลงได้โดยไม่ต้องแจ้งให้ทราบล่วงหน้าสำหรับการปรับปรุง
อย่าถอดประกอบหรือปรับรุ่นของตลับหมึกใหม่ มิฉะนั้นคุณอาจจะไม่สามารถทำการพิมพ์ได้ตามปกติ
ประสิทธิภาพที่อ้างไว้อาจแปรผันไปโดยขึ้นอยู่กับรูปภาพที่คุณทำการพิมพ์ ประเภทกระดาษที่คุณกำลังใช้ ความถี่ของการพิมพ์ของคุณและสภาวะแวดล้อม เช่น อุณหภูมิ
อย่าทำให้ตกลงมาหรือปะทะกับวัตถุแข็ง มิฉะนั้น หมึกอาจรั่วไหลออกมา
ในการคงรักษาประสิทธิภาพการทำงานของหัวพิมพ์ให้ดีที่สุึด หมึกบางชนิดจะถูกบริโภคจากตลับหมึกทั้งหมดไม่ใช่แค่เพียงในขณะทำการพิมพ์เท่านั้น แต่ยังในระหว่างการบำรุงรักษาอีกด้วย เช่น การทำความสะอาดหัวพิมพ์
หมึกในตลับหมึกที่มอบให้มาพร้อมกับเครื่องพิมพ์ของคุณได้ถูกใช้ไปบางส่วนสำหรับการตั้งค่าแรกเริ่ม เพื่อที่จะผลิตการพิมพ์ออกมาที่ได้คุณภาพสูง หัวพิมพ์ในเครื่องพิมพ์ของคุณจะต้องมีหมึกอยู่เต็ม กระบวนการแบบครั้งเดียวจบนี้บริโภคปริมาณของหมึกและดังนั้นตลับหมึกนี้อาจจะพิมพ์ออกมาได้ไม่กี่หน้าเปรียบเทียบกับตลับหมึกถัดไป