
|
|
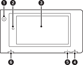
ปุ่มเปิด/ปิด ไฟปุ่มเปิด/ปิด |
|
|
ปุ่มหน้าหลัก พาคุณกลับไปยังหน้าจอหลัก |
|
|
หน้าจอสัมผัส แสดงรายการการตั้งค่าและข้อความ หากไม่มีการทำงานใดๆ เป็นช่วงระยะเวลาเฉพาะค่าหนึง เครื่องพิมพ์จะเข้าสู่โหมดสลีป และจอแสดงผลจะปิดลง แตะที่ใดๆ บนหน้าจอสัมผัสเพื่อเปิดจอแสดงขึ้น กดปุ่มเปิด/ปิดเพื่อปลุกเครื่องพิมพ์จากโหมดสลีป ทั้งนี้ขึ้นอยู่กับการตั้งค่าปัจจุบัน |
|
|
ไฟสถานะข้อมูล ติดกะพริบเมื่อเครื่องพิมพ์กำลังประมวลผลข้อมูล และติดสว่างเมื่อมีงานรอการประมวลผล |
|
|
ไฟแจ้งข้อผิดพลาด ติดสว่างหรือติดกะพริบเมื่อมีข้อผิดพลาดเกิดขึ้น แสดงข้อผิดพลาดบนหน้าจอ |
|
|
ไฟสถานะการรับแฟกซ์ ติดสว่างเมื่อได้รับเอกสารขาเข้าที่ยังไม่ได้ประมวลผล |
คุณสามารถเอียงแผงควบคุมได้
