
|
№ |
Islege bagly zat |
Umumy syn |
|---|---|---|
|
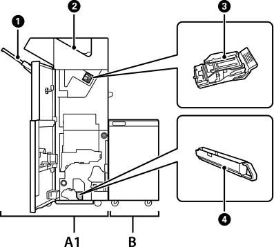
A1 |
Staple Finisher |
Kagyzy çykarmazdan öň sortlaýar we stepler edýär. Islege bagly deşik deşiji blok arkaly deşikler deşýär. |
|
B |
Finisher Bridge Unit |
Stepler timarlaýjyny ýa-da kitapça timarlaýjyny işletmek üçin, siz timarlaýjy köpri bloguny gurnamaly. |
|
|
Timarlaýjy lotogy |
Sortlanan ýa-da steplerlenen resminamalary saklaýar. |
|
|
Çykyş lotogy |
Esasan alnan fakslary saklaýar. |
|
|
Stepler kartriji |
Tekiz çatmak üçin. |
|
|
Deşmek zibil lotogy |
Deşmek zyňyndylaryny ýygnaýar. |