Syýa kartrijlerini çalşyrmazdan öň aşakdaky görkezmeleri okaň.
Syýa kartrijlerini kadaly otag temperaturasynda saklaň we gün şöhlesiniň göni düşmeginden goraň.
Epson syýa kartrijini gabynda görkezilen sene geçmänkä ulanmaklygy maslahat berýär.
Iň gowy netijeleri almak üçin, syýa kartrijiniň gabyny düýbüni aşak edip saklaň.
Syýa kartrijini sowuk saklanylýan ýerden getireniňizde, ony ulanmazdan öň, azyndan 12 sagatlap otag temperaturasynda ýyladyň.
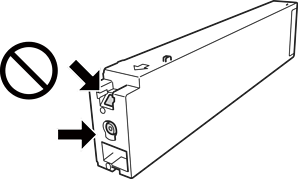
Suratda görkezilýän bölümlere degmäň. Şeýle etmeklik printeriň kadaly işlemegine we çap etmegine päsgel berip biler.

Ähli syýa kartrijlerini dakyň; ýogsam, çap edip bilmersiňiz.
Syýa goýbermeklik dowam edýärkä, printeriň toguny öçürmäň. Eger syýa goýbermeklik doly tamamlanmasa, çap edip bolmazlygy mümkin.
Printeri syýa kartrijini aýryp goýmaň ýa-da kartrij çalşyrylýarka, printeriň toguny öçürmäň. Ýogsam, golowkanyň lülelerinde galan syýanyň guramagy we hiç zat çap edip bolmazlygy mümkin.
Eger syýa kartrijini wagtlaýynça aýyrmaly bolsaňyz, syýa çykýan ýeri hapadan we tozandan gorap saklaň. Syýa çykýan deşik gapdala bolar ýaly edip, kartriji printer bilen birmeňzeş şertlerde saklaň. Syýa çykýan deşigiň özünde artykmaç syýany goýberýän klapan bardygy sebäpli, ýörite gapak ýa-da dyky gözläp oturmak gerek däl.
Aýrylan kartrijlerde syýa çykýan deşigiň töwereginde syýa bar bolmagy mümkin, şonuň üçin, seresap boluň, kartriji aýranyňyzda daş-töwerege syýa degräýmäň.
Bu printeriň ulanýan kartrijlerinde maglumatlara (mes. her kartrijde galan syýanyň möçberine) gözegçilik edýän ýaşyl reňkli çip goýlandyr. Ýagny, heniz gutarmanka printerden aýran bolsaňyz hem, kartriji printere täzeden dakyp ulanyp bilersiňiz.
Iň ýokary hilli çap etmekligi we golowkanyň goralmagyny üpjün etmek maksady bilen, printer kartriji çalşyrmalydygyny habar berende, kartrijde belli bir möçberde rezerw syýa goýulýar. Size görkezilen sahypa sanyna ol rezerw degişli däldir.
Syýa kartrijlerinde gaýtadan işlenilen materiallar bar hem bolsa, olar printeriň funksiýalaryna ýa-da öndürijiligine täsir etmeýär.
Syýa kartrijiniň häsiýetnamasy we daşky görnüşi, öňünden habar berilmezden, gowulandyrmak maksady bilen üýtgedilmäge degişlidir.
Syýa kartrijini sökmäň ýa-da täzeden modelirlemäň, ýogsam, kadaly çap edip bolmazlygy mümkin.
Çap edýän suratlaryňyza, ulanýan kagyz görnüşiňize, çap ediş ýygylygyňyza we daşky gurşaw şertlerine (mes. temperatura) baglylykda, sahypa sanlary üýtgäp biler.
Ony ýere gaçyrmaň ýa-da gaty zada urmaň; ýogsam, syýanyň syzmagy mümkin.
Kartrijlerdäki syýanyň belli bir möçberi diňe bir çap ediş prosesinde däl-de, eýsem çap ediş golowkasynyň optimal öndürijiligini üpjün etmek üçin tehniki hyzmat amallary (mes. çap ediş golowkasynyň arassalanylmagy we ş.m.) ýerine ýetirilende hem ulanylýar.
Printeriň ýany bilen berilýän kartrijdäki syýanyň bir bölegi ilkinji gurnaýyşda sarp edilýär. Çykýan kagyzlaryň ýokary hilli bolmagyny gazanmak üçin, çap ediş golowkasy syýadan doldurylýar. Ol proses bir gezeklik bolup, oňa belli bir möçberde syýa gerek bolýar, şonuň üçin-de, ol kartrijiň soňraky goýjak kartrijleriňize garanyňda birneme azrak sahypa çap etmekligi mümkindir.