Mürekkep Kartuşlarını değiştirmeden önce aşağıdaki talimatları okuyun.
Mürekkep kartuşlarını normal oda sıcaklığında saklayın ve doğrudan güneş ışığından uzak tutun.
Epson mürekkep kartuşlarını paket üzerinde yazılı son kullanma tarihinden önce kullanmanızı önerir.
Mümkün olan en iyi sonuçları elde etmek için mürekkep kartuşu paketlerinin alt kısımları aşağıya bakacak şekilde muhafaza edin.
Saklandığı soğuk bir ortamdan çıkarılan mürekkep kartuşunu kullanmadan önce oda sıcaklığında en az 12 saat ısınmaya bırakın.
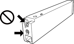
Resimde gösterilen kısımlara dokunmayın. Bu, normal çalışma ve yazdırma işlemini engelleyebilir.

Tüm mürekkep kartuşlarını takın; aksi halde yazdıramazsınız.
Mürekkep dolumu esnasında yazıcıyı kapatmayın. Mürekkep dolum işlemi tamamlanmazsa yazdırma işlemi gerçekleştiremeyebilirsiniz.
Kartuş değişimi sırasında yazıcıyı kapatmayın veya yazıcıyı mürekkep kartuşları çıkarılmış biçimde bırakmayın. Aksi halde, yazdırma başlığı püskürtme uçlarında kalan mürekkep kurur ve yazdıramayabilirsiniz.
Bir kartuşu geçici bir süre için çıkarmanız gerekirse mürekkep besleme alanının tozlanmamasına ve kirlenmemesine dikkat edin. Mürekkep kartuşunu mürekkep besleme yuvası yana bakacak şekilde yazıcı ile aynı yerde muhafaza edin. Mürekkep tahliye noktasında atılan fazla mürekkebi tutmak için tasarlanan bir valf bulunduğundan, kendi kapaklarınızı ve fişlerinizi sağlamanız gerekmez.
Çıkartılan mürekkep kartuşlarının mürekkep tahliye noktasının çevresinde mürekkep olabilir. Dolayısıyla, kartuşları çıkartırken, çevresindeki alana mürekkep bulaştırmamaya dikkat edin.
Bu yazıcı, her kartuş tarafından kullanılan mürekkep miktarı bilgisini izleyen yeşil bir yongaya sahip mürekkep kartuşları kullanır. Bu, kartuş boşalmadan önce yazıcıdan çıkarılsa bile, yeniden yazıcıya taktığınızda bu kartuşu hala kullanabileceğiniz anlamına gelir.
En yüksek baskı kalitesini elde etmek ve yazdırma kafasının korunmasına yardımcı olmak amacıyla, yazıcınız size kartuşun değiştirilmesi mesajı verdiği sırada, kartuş içerisinde yedek olarak bir miktar mürekkep bırakılmaktadır. Verilen tüketim rakamlarına bu rezerv dahil değildir.
Mürekkep kartuşları geri dönüşümlü maddeler içeriyor olsa da, bu durum yazıcının işlevini veya çalışmasını etkilemez.
Mürekkep kartuşların özellikleri ve görünümleri geliştirmek amacıyla önceden bildirmeksizin değiştirilebilir.
Mürekkep kartuşunu parçalara ayırmayın veya şeklini değiştirmeyin, aksi takdirde normal yazdırma yapamayabilirsiniz.
Verilen tüketim rakamları bastığınız resimlere, kullandığınız kağıt tipine, yaptığınız baskı sıklığına ve sıcaklık gibi ortam koşullarına bağlı olarak değişiklik gösterebilir.
Düşürmeyin veya sert nesnelere çaprmayın; aksi halde mürekkep sızabilir.
Optimum yazdırma başlığı performansı elde etmek için yalnızca yazdırma sırasında değil, ayrıca mürekkep kartuşu değişimi ve yazdırma başlığı temizleme gibi bakım işlemlerinde de tüm kartuşlardan biraz mürekkep tüketilir.
Yazıcınızla gelen mürekkep kartuşundaki mürekkep başlangıç ayarları sırasında kısmen kullanılır. Yüksek kalitede çıktı elde etmek için yazıcınızın yazdırma başlığı tamamen mürekkeple doldurulacaktır. Bu işlem bir miktar mürekkep tüketir; bu nedenle bu kartuşla daha sonra takılacak olan kartuşlara oranla daha az sayfa yazdırılabilir.