
|
|
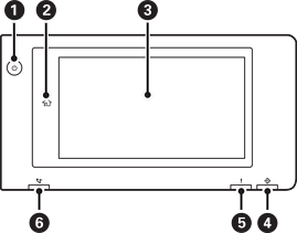
Güç düğmesi Güç ışığı |
|
|
Giriş düğmesi Ana ekrana döner. |
|
|
Dokunmatik ekran Ayar öğelerini ve mesajları görüntüler. Belirli bir süre hiç işlem gerçekleştirilmediğinde, yazıcı uyku moduna girer ve ekran kapanır. Görüntüyü açmak için dokunmatik ekrandaki bir yere dokunun. Geçerli ayarlara bağlı olarak, güç düğmesine bastığınızda yazıcı uyku modundan çıkar. |
|
|
Veri ışığı Yazıcı verileri işlerken yanıp söner ve işlenmesi bekleyen işler olduğunda yanar. |
|
|
Hata ışığı Bir hata oluştuğunda yanar veya yanıp söner. Hata varsa ekranda görüntüler. |
|
|
Faks alım ışığı Henüz işlenmemiş belgeler alındığında yanar. |
Kontrol panelini eğebilirsiniz.
