Siyoh kartrijlarini almashtirishdan avval quyidagi ko‘rsatmalarni o‘qib chiqing.
Siyoh kartridjlarini oddiy xona haroratida saqlang va to'g'ridan-to'g'ri quyosh nurlari ta'siriga qo'ymang.
Epson siyoh kartridjlaridan qadog'ida ko'rsaatilgan sanadan avval foydalanishni tavsiya qiladi.
Eng yaxshi natijaga erishish uchun siyoh kartridji qadoqlarini tag qismini pastga qilgan holda saqlang.
Siyoh kartridjini sovuq saqlash joyidan ichkariga keltirgandan keyin undan foydalanishdan avval uni xona haroratigacha isitish uchun kamida 12 soat kuting.
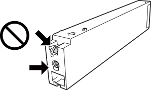
Rasmda ko'rsatilgan bo'limlarga tegmang. Bunday qilish me'yorida ishlash va chop qilishga zarar yetkazishi mumkin.

Barcha siyoh kartridjlarini o‘rnating; aks holda chop qilib bo‘lmaydi.
Siyoh bilan to'ldirilayotgan vaqtda printerni o'chirmang. Agar siyoh bilan to'ldirish tugallanmagan bo'lsa, chop qila olmasligingiz mumkin.
Printerni siyoh kartriji olingan holda qoldirmang yoki kartrijni almashtirish vaqtida printerni o‘chirmang. Aks holda chop qilish kallagi uchliklarida qolgan siyoh quriydi va chop qila olmay qolishingiz mumkin.
Agar siyoh kartridjini vaqtinchalik olib qo‘yishingiz kerak bo‘lsa, siyoh ta’minoti sohasini kir va changlardan himoyalab qo‘ying. Siyoh kartridjini siyih ta’minoti portini yon tomonlarga qilgan holda printer bilan bir xil sharoitlarda saqlang. Siyoh ta’minoti porti ortiqcha siyohni qo‘yib yuborish uchun mo‘ljallangan klapan bilan jihozlanganligi uchun o‘z qopqoqlari yoki probkalari bilan shart emas.
Olib qo'yilgan kartridjlarning siyoh ta'minoti porti atroflarida siyoh bo'lishi mumkin, shuning uchun kartridjlarni olganda atrofdagi huquqlarga siyoh tegmasligi uchun ehtiyot bo'ling.
Bu printer har bir kartridjdagi qolgan siyoh miqdori kabi ma’lumotlarni nazorat qilib boruvchi yashil chip qilan jihozangan kartridjdan foydalanadi. Bu kartridjdan to‘liq foydalanib bo‘lishidan avval printerdan olingan bo‘lsa ham uni printerga qayta o‘rnatgandan keyin kartridjdan foydalanish mumkin ekanligini anglatadi.
Chop qilishning oliy sifatini ta'minlash va chop qilish golovkasini himoya qilishda yordam berish uchun printer kartridjni to'ldirish kerakliguni ko'rsatganda o'zgaruvchan siyoh zahirasi kartridj ichida qoladi. Sizga keltirilgan ma'lumotlar bu zahirani o'z ichiga olmaydi.
Garchi siyoh kartridjlari qayta ishlangan materiallarni o'z ichiga olishi mumkin bo'lsada, bu printer funksiyasi yoki uning ishlashiga ta'sir ko'rsatmaydi.
Siyoh kartridjlarining texnik xususiyatlari va ko'rinishi yaxshilash maqsadida avvaldan xabardor qilmagan holda o'zgartirilishi mumkin.
Siyoh kartridjlarini qismlarga ajratmang yoki moslashtirmang, aks holda chop qilish me'yorida bo'lmasligi mumkin.
Ko'rsatilgan chop qilinadigan sahifalar soni chop qilinayotgan tasvirlar, chop qilishda foydalanilayotgan qog'oz turi, chop qilishdan qanchalik ko'p foydalanilishi va harorat kabi atrof-muhit sharoitlariga bog'liq ravishda o'zgarishi mumkin.
Uni tushirib yubormang yoki qattiq narsalarga urmang; aks holda siyoh oqib ketishi mumkin.
Chop qilish kallaging optimal darajada ishlashini ta’minlash uchun barcha siyoh kartridjlaridagi siyohlar nafaqat chop qilish davomida, balki texnik xizmat ko‘rsatish, masalan, chop qilish kallagini tozalaganda ham ishlatiladi.
Printer bilan birga berilgan siyoh kartridjidagi siyohdan dastlabki o‘rnatish vaqtida qisman foydalaniladi. Yuqori sifatli chop qilishlarni ta’minlash maqsadida printerning chop qilish kallagi siyoh bilan to‘liq to‘ldirib olinadi. Bu bir martalik jarayon ma’lum miqdordagi siyoh iste‘mol qiladi va shuning uchun bu siyoh kartridji keyingi siyoh kartridjlariga qaraganda kamroq sahifaga yetishi mumkin.