
|
|
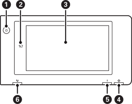
Yoqish tugmasiYoqish chirog‘i |
|
|
Bosh ekran tugmasi Sizni bosh ekranga qaytaradi. |
|
|
Sensorli ekran O‘rnatiluvchi elementlar va xabarlarni namoyish qiladi. Ma’lum vaqt davomida hech qanday harakat bajarilmagan hollarda printer uyqu rejimiga kiradi va displey o‘chadi. Displeyni yoqish uchun sensorli ekranning istalgan joyiga teging. Joriy sozlamalarga bog‘liq ravishda quvvat tugmasini bosish printerni uyqu rejimidan uyg‘otadi. |
|
|
Ma’lumotlar chirog‘i Printer ma’lumotlarni qayta ishlayotganida miltillaydi va qayta ishlanishini kutayotgan ma’lumotlar mavjud bo‘lganida yonadi. |
|
|
Xatolik chiorg‘i Xatolik yuz berganda yonadi yoki miltillaydi. Ekranda har qanday xatolarni ko‘rsatadi. |
|
|
Faksni qabul qilish chirog‘i Hali qayta ishlanmagan hujjatlar olinganda yonadi. |
Boshqaruv panelini qiyalatishingiz mumkin.
