Hãy đọc các hướng dẫn sau trước khi thay hộp mực.
Bảo quản hộp mực ở nhiệt độ trong phòng bình thường và tránh ánh nắng mặt trời trực tiếp.
Epson khuyên bạn nên sử dụng hộp mực trước ngày được in trên gói sản phẩm.
Để có kết quả tốt nhất, bảo quản gói sản phẩm hộp mực với mặt đáy ở phía dưới.
Sau khi đưa hộp mực vào từ nơi bảo quản lạnh, để mực ấm lên đến nhiệt độ phòng trong ít nhất 12 giờ trước khi sử dụng.
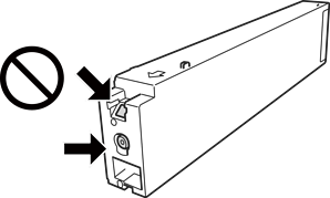
Không chạm vào các phần được hiển thị trong hình minh họa. Làm như vậy có thể ảnh hưởng đến hoạt động và in bình thường.

Lắp tất cả các hộp mực; nếu không bạn không thể in.
Không tắt máy in trong khi nạp mực. Nếu quá trình nạp mực không hoàn thành, bạn không thể in.
Không rời khỏi máy in khi tháo hộp mực hoặc không tắt máy in trong khi thay hộp mực. Nếu không, mực còn lại trong kim phun của đầu in có thể khô đi và bạn không thể in.
Nếu bạn cần tháo hộp mực tạm thời, đảm bảo rằng bạn bảo vệ vùng cấp mực tránh bụi và bẩn. Bảo quản hộp mực trong cùng môi trường với máy in, với cổng cấp mực hướng về phía bên cạnh. Vì cổng cấp mực được trang bị van được thiết kế để chứa mực thừa thoát ra, không cần phải có nắp hoặc nút của riêng bạn.
Hộp mực đã tháo có thể có mực xung quanh cổng cấp mực, vì vậy hãy cẩn thận không để mực đi ra khu vực xung quanh khi tháo hộp mực.
Máy in này sử dụng hộp mực được trang bị chip màu xanh lá cây để theo dõi thông tin như lượng mực còn lại của từng hộp mực. Điều này có nghĩa là ngay cả khi hộp mực được tháo ra khỏi máy in trước khi được mở rộng, bạn vẫn có thể sử dụng hộp mực sau khi lắp lại hộp mực vào máy in.
Để đảm bảo bạn có được chất lượng in cao cấp và giúp bảo vệ đầu in, một lượng mực dự trữ an toàn còn lại trong hộp mực khi máy in của bạn cho biết cần phải thay hộp mực. Sản lượng đã tính cho bạn không bao gồm lượng dự trữ này.
Mặc dù hộp mực có thể chứa các vật liệu tái chế, điều này không ảnh hưởng đến chức năng và hiệu suất của máy in.
Thông số kỹ thuật và hình dáng của hộp mực có thể thay đổi mà không cần thông báo trước nhằm cải tiến tốt hơn.
Không tháo hoặc sửa lại hộp mực, làm như vậy bạn có thể không in được một cách bình thường.
Sản lượng đã tính có thể thay đổi tùy thuộc vào ảnh mà bạn in, loại giấy bạn sử dụng, tần suất in và điều kiện môi trường như nhiệt độ.
Không đánh rơi hoặc vỗ hộp mực vào các vật cứng; làm như vậy mực có thể bị rò rỉ.
Để duy trì hiệu suất đầu in tối ưu, một lượng mực được tiêu thụ từ tất cả các hộp mực không chỉ trong quá trình in, mà trong cả quá trình vận hành bảo dưỡng, ví dụ như làm sạch đầu in.
Mực trong hộp mực được cung cấp cùng với máy in được sử dụng một phần trong quá trình cài đặt ban đầu. Để tạo ra bản in có chất lượng cao, đầu in trong máy in của bạn sẽ được nạp đầy mực. Quy trình một lần này tiêu thụ một lượng mực và vì vậy hộp mực này có thể in số trang ít hơn so với các hộp mực tiếp theo.