
|
|
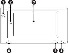
Nút nguồn Đèn nguồn |
|
|
Nút home Đưa bạn trở về màn hình chính. |
|
|
Màn hình cảm ứng Hiển thị các mục cài đặt và thông báo. Khi không có hoạt động nào được thực hiện trong một khoảng thời gian cụ thể, máy in sẽ chuyển sang chế độ ngủ và màn hình sẽ tắt. Nhấn vào bất kỳ nơi nào trên màn hình cảm ứng để bật màn hình. Tùy thuộc vào cài đặt hiện tại, nhấn nút nguồn sẽ đánh thức máy in từ chế độ ngủ. |
|
|
Đèn dữ liệu Nhấp nháy khi máy in đang xử lý dữ liệu và bật lên khi có các lệnh đang chờ được xử lý. |
|
|
Đèn báo lỗi Bật hoặc nhấp nháy khi xảy ra lỗi. Hiển thị bất kỳ lỗi nào trên màn hình. |
|
|
Đèn báo nhận fax Bật khi nhận được tài liệu chưa được xử lý. |
Bạn có thể nghiêng panel điều khiển.
