
|
|
Kağızın arxa ötürücü slotu |
Eyni vaxtda əl ilə kağızın bir vərəqini yükləyin. |
|
|
Kağızın arxa ötürücü slotunun qapağı |
Yad cisimlərin printerə düşməsinə imkan vermir. Bu qapaq adətən bağlanılmalıdır. |
|
|
Kənar düzləndiricisi |
Kağızı birbaşa printerə ötürür. Kağızın kənarlarına sürüşdürün. |
|
|
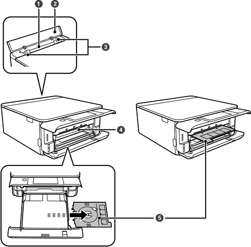
CD/DVD altlığı yuvası |
Bu yuvada etiketi çap etmək üçün yerləşdirilmiş CD/DVD ilə birgə CD/DVD altlığını daxil edin. |
|
|
CD/DVD altlığı |
CD/DVD-də çap edən zaman bunu 2-ci printer kaseti aşağısından çıxarın, CD/DVD-ni yerləşdirin və onu CD/DVD altlıq yuvasına daxil edin. CD/DVD-də çap etməyən zaman CD/DVD-ni yerləşdirmədən onu 2-ci printer kasetinin aşağısında saxlayın. |

|
|
Skaner bölməsi |
Yerləşdirilən orijinalları skanlayır. Mürrəkəb kartriclərini dəyişdirmək və ya ilişmiş kağızı çıxarmaq üçün açın. Bu qurğu adətən bağlı saxlanmalıdır. |
|
|
Mürəkkəb kartrici tutacağı |
Mürəkkəb kartriclərini quraşdırın. Mürəkkəb çap başlığı ucqlularından aşağıya axır. |
|
|
Texniki qulluq qutusunun qapağı |
Texniki qulluq qutusunu əvəzləyən zaman çıxarın. Texniki qulluq qutusu təmizləyən və ya çap zamanı kiçik miqdarda qalıq mürəkkəb toplayan konteynerdi. |
|
|
İdarəetmə paneli |
Printerin vəziyyətini göstərir və çap parametrlərini qurmağınıza icazə verir. |
|
|
|
Printeri yandırır və ya söndürür. Enerji işığı sönülü olduqda yoxladıqdan sonra elektrik naqilini şəbəkədən ayırın. |

|
|
Ön qapaq |
kağız kasseti-ə kağız yükləmək üçün açın. |
|
|
Çıxış rəfi |
Çıxan kağızı tutur. Çapa başladığınız zaman bu altlıq avtomatik çıxarılır. Printer sönülü olduğu zaman göstərilən ekranda Yes düyməsinə bassanız, o, avtomatik saxlanılacaq. Rəfi əl ilə saxlamaq üçün əsas ekranda |
|
|
Kağız kasseti 1 |
Kağızı əlavə edir. |
|
|
Kağız kasseti 2 |
|
|
|
Kənar düzləndiricisi |
Kağızı birbaşa printerə ötürür. Kağızın kənarlarına sürüşdürün. |
|
|
Kağız düzləndiricisi genişlənməsi |
A4 ölçüsündən böyük kağız yükləmək üçün sürüşdürün. |

|
|
Sənəd qapağı |
Skanlayarkən kənar işığın qarşısını alır. |
|
|
Skaner şüşəsi |
Orijinalları yerləşdirin. |
|
|
SD kartı girişi |
Yaddaş kartını daxil edin. |
|
|
Xarici interfeysin USB portu |
Xarici yaddaş cihazını və ya PictBridge xüsusiyyətli cihazı qoşur. |

|
|
AC girişi |
Elektrik kabeli qoşulur. |
|
|
Arxa qapaq |
İlişmiş kağızı çıxararkən çıxarın. |
|
|
USB portu |
Kompüterə qoşmaq üçün USB kabelini birləşdirir. |