U kunt de printervoet op de papiercassette-eenheid of direct op de printer installeren.
De onderstaande instructies beschrijven het installeren van de papiercassette-eenheid als voorbeeld. Wij raden u aan de printervoet te gebruiken als u papiercassette-eenheden installeert.

*: u kunt drie papiercassette-eenheden toevoegen.
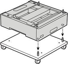
Plaats de printervoet op een vlakke ondergrond en vergrendel de voorste zwenkwielen.
Houd de zwenkwielen vergrendeld om te verhinderen dat de printer beweegt.

Installeer twee geleiderpennen op de printervoet.

Plaats de onderste papiercassette-eenheid op de printervoet. Lijn alle gaten op de onderkant uit op de geleiderpennen.

Verwijder de achterklep van de bovenste papiercassette-eenheid.

Trek de bovenste papiercassette uit.

Maak de papiercassette-eenheid vast aan de printervoet met vier schroeven.

Stop de papiercassette terug in de papiercassette-eenheid.

Plaats de verwijderde achterklep terug.

Raadpleeg de Gerelateerde informatie wanneer u de printer installeert op de papiercassette-eenheid of de printervoet.