マニュアルの見方
マニュアルの種類と内容
マークの意味
マニュアル記載の前提
OS表記
マニュアルのご注意
プリンターの基本情報
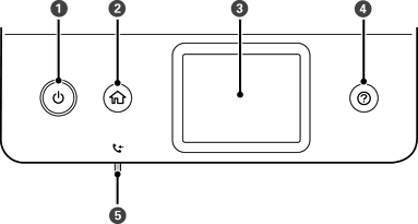
各部の名称と働き
操作パネル
画面の見方と使い方
画面に表示されるアイコン
タッチパネルの操作
基本の操作
文字入力の仕方
操作手順を動画で見る
ネットワーク設定
ネットワーク接続の種類
有線LAN接続
無線LAN(Wi-Fi)接続
Wi-Fi Direct (シンプルAP)接続
コンピューターとの接続
スマートデバイスとの接続
無線LANルーター経由でスマートデバイスに接続
iPhone、iPad、iPod touchでWi-Fi Direct接続する
AndroidデバイスでWi-Fi Direct接続する
iOS、Android以外のデバイスとWi-Fi Direct接続する
プリンターのネットワーク設定
プリンターにSSIDとパスワードを入力して設定する
プッシュボタンで自動設定する(AOSS/WPS)
PINコードで設定する(WPS)
Wi-Fi Direct(シンプルAP)で設定する
ネットワーク詳細設定をする
ネットワーク詳細設定の設定項目
ネットワーク接続状態の確認
ネットワークアイコン
操作パネルでネットワークの詳細情報を確認する
ネットワーク接続診断レポートを印刷する
ネットワーク接続診断レポートの見方と対処方法
E-1
E-2, E-3, E-7
E-5
E-6
E-8
E-9
E-10
E-11
E-12
E-13
ネットワーク環境に関するメッセージ
ネットワークステータスシートを印刷する
無線LANルーター(アクセスポイント)を交換または追加したときは
コンピューターとの接続形態の再設定
操作パネルで有線LAN接続に変更する
Wi-Fi Direct(シンプルAP)の設定を変更する
操作パネルから無線LANを無効にする
操作パネルからWi-Fi Direct(シンプルAP)接続を無効にする
操作パネルからネットワーク設定を初期の状態に戻す
プリンターの準備
用紙のセット
印刷できる用紙とセット枚数
エプソン製専用紙(純正品)
市販の印刷用紙
印刷用紙取り扱い上のご注意
用紙カセットに印刷用紙をセットする
手差し給紙に印刷用紙をセットする
ハガキのセット方法
封筒のセット方法
セットした用紙の種類を設定する
排紙
原稿のセット
ADFにセットできる原稿
ADFに原稿をセットする
2面割り付けコピー時のADFへの原稿セット方法
原稿台に原稿をセットする
IDカードコピー時のセット方法
アドレス帳の管理
アドレスを登録または編集する
アドレスをグループにする、グループを編集する
コンピューターからのアドレス帳管理
アドレスの設定項目(Web Config)
アドレスをグループにする(Web Config)
設定メニューの説明
本体設定メニューの説明
基本設定
プリンター設定
Webサービス設定
ファクス設定
プリンターのお手入れメニューの説明
本体ステータスシートの印刷メニューの説明
印刷ページ数の確認メニューの説明
診断レポートメニューの説明
ユーザー設定メニューの説明
初期設定に戻すメニューの説明
ファームウェアのアップデートメニューの説明
省電力設定をする
省電力設定をする - 操作パネル
ファクスを使う前に
電話回線に接続する
使用できる電話回線
プリンターを電話回線に接続する
一般回線または構内交換機(PBX)に接続する
ADSLまたはISDNに接続する
光回線に接続する
電話機とプリンターを接続する
ファクスを使えるようにする(ファクス設定ウィザード)
項目を選んでファクスの機能を設定する
受信モードを設定する
手動モード
自動モード
ファクス/電話自動切替モード
外付け電話機接続時の設定をする
留守番機能付き電話機を使えるようにする
発信元の電話番号を表示する設定にする(ナンバーディスプレイ機能)
外付け電話機の操作だけで受信できるようにする(リモート受信)
迷惑ファクスの受信拒否を設定する
受信ファクスを保存する設定をする
コンピューターからのファクス送受信を設定する
受信ファクスをコンピューターに保存する設定
受信ファクスをコンピューターに保存してプリンターで印刷する設定
コンピューターへの受信ファクスの保存をやめる設定
ファクス設定メニューの説明
ファクス診断
ファクス設定ウィザード
受信設定メニュー
受信文書設定メニュー
印刷設定メニュー
レポート設定メニュー
基本設定メニュー
セキュリティー設定メニュー
印刷
Windowsプリンタードライバーから印刷する
プリンタードライバーの開き方
基本の印刷
両面に印刷する
設定方法
複数ページを1ページに印刷する
ページ順に印刷する(逆順印刷)
拡大縮小して印刷する
複数用紙に分割して拡大印刷する(ポスター)
「貼り合わせガイドを印刷」を使ってポスターを作る
ヘッダーやフッターを入れて印刷する
透かしを入れて印刷する(透かし印刷)
複数ファイルを1つにまとめて印刷する(まとめてプリント)
色補正をして印刷する
細い線を鮮明に印刷する
薄い色の文字や線を鮮明に印刷する
バーコードのにじみを抑えて印刷する
印刷を中止する
中止方法
プリンタードライバーのメニュー説明
基本設定タブ
応用設定タブ
ユーティリティータブ
Mac OSプリンタードライバーから印刷する
レイアウトメニュー
カラー・マッチングメニュー
用紙処理メニュー
表紙メニュー
自動両面/排紙設定メニュー
Mac OSプリンタードライバーの動作を設定する
Mac OSプリンタードライバーの動作設定画面の開き方
Mac OSプリンタードライバー動作設定メニューの説明
スマートデバイスから印刷する
Epson iPrintを使う
Epson iPrintをインストールする
Epson iPrintで印刷する
Epson印刷サービスプラグインを使う
AirPrintを使う
ハガキへの印刷
印刷中のジョブを中止する
コピー
基本のコピー
用紙の両面にコピーする
複数枚の原稿を1枚の用紙にコピーする
コピー時の基本設定メニュー
コピー時の応用設定メニュー
スキャン
操作パネルからスキャンする
スキャンした画像をコンピューターに保存する(Event Manager)
Epson Event Managerでカスタム設定をする
スキャンした画像をクラウドに保存する
クラウド保存の基本設定項目
クラウド保存の応用設定項目
コンピューターからスキャンする
Epson Scan 2でスキャンする
スマートデバイスからスキャンする
Epson iPrintでスキャンする
ファクス
プリンターからファクスを送信する
操作パネルからファクス送信する
操作パネルからファクスを自動送信する
外付け電話機からダイヤルして送信する
便利な送信方法
大量ページのモノクロ文書を送る(ダイレクト送信)
指定した時刻に送信する(時刻指定送信)
異なるサイズの原稿をADFから送信する(ADF連続読込)
プリンターでファクスを受信する
相手先から送られてきたファクスを受信する
相手先にダイヤルしてファクスを受信する
ポーリング受信する
受信文書の保存
受信文書を受信ボックスに保存する
受信ボックス内の文書をプリンターの画面で確認する
その他のファクス機能を使う
手動でファクスレポートを印刷する
ファクスメニューの説明
宛先
応用
受信ボックスメニューの説明
コンピューターからファクスを送信する
アプリケーションで作成した文書を送信する(Windows)
アプリケーションで作成した文書を送信する(Mac OS)
コンピューターでファクスを受信する
受信文書をコンピューターに保存する
コンピューターでのファクス受信をやめる
新着ファクスを確認する(Windows)
タスクバーのファクスアイコンを使う (Windows)
受信通知ウィンドウを使う (Windows)
新着ファクスを確認する(Mac OS)
ファクス受信モニターから保存フォルダーを開く (Mac OS)
インクの補充とメンテナンスボックスの交換
インク残量とメンテナンスボックスの状態を確認する
メンテナンスボックスの状態を確認する - 操作パネル
インク残量とメンテナンスボックスの状態を確認する - Windows
インク残量とメンテナンスボックスの状態を確認する - Mac OS
純正インクボトルのご案内
インクボトル取り扱い上のご注意
インクタンクにインクを補充する
メンテナンスボックスの型番
メンテナンスボックス取り扱い上のご注意
メンテナンスボックスを交換する
インクボトルやメンテナンスボックスの廃棄
プリンターのメンテナンス
プリントヘッドの乾燥を防ぐ
ノズルの目詰まりを確認する(ノズルチェック)
ノズルの目詰まりを確認する(ノズルチェック) - 操作パネル
ノズルの目詰まりを確認する(ノズルチェック) - Windows
ノズルの目詰まりを確認する(ノズルチェック) - Mac OS
プリントヘッドをクリーニングする
プリントヘッドをクリーニングする - 操作パネル
プリントヘッドをクリーニングする - Windows
プリントヘッドをクリーニングする - Mac OS
プリントヘッドを強力クリーニングする(強力クリーニング)
強力クリーニングをする - 操作パネル
強力クリーニングをする - Windows
強力クリーニングをする - Mac OS
プリントヘッドの位置を調整する
プリントヘッドの位置を調整する - 操作パネル
給紙経路をクリーニングする
用紙経路をクリーニングする(印刷結果が汚れるとき)
用紙経路をクリーニングする(正しく給紙されないとき)
ADFをクリーニングする
原稿台をクリーニングする
半透明フィルムをクリーニングする
総通紙枚数を確認する
総通紙枚数を確認する - 操作パネル
総通紙枚数を確認する - Windows
総通紙枚数を確認する - Mac OS
ネットワークサービスとソフトウェアのご案内
ブラウザー上でプリンターの設定や変更をするソフトウェア(Web Config)
WebブラウザーからWeb Configを起動する
WindowsからWeb Configを起動する
Mac OSからWeb Configを起動する
文書や写真をスキャンするソフトウェア(Epson Scan 2)
スキャナーの追加方法
操作パネルからのスキャン動作を設定するソフトウェア(Epson Event Manager)
ファクスの送受信や設定をするソフトウェア(FAX Utility)
ファクス送信するソフトウェア(PC-FAXドライバー)
Webページを印刷するソフトウェア(E-Web Print)
ソフトウェアの更新ツール(EPSON Software Updater)
複数のデバイスを設定できるソフトウェア(EpsonNet Config)
最新のソフトウェアをインストールする
操作パネルを使ってプリンターのファームウェアを更新する
ソフトウェアをアンインストール(削除)する
ソフトウェアをアンインストール(削除)する - Windows
ソフトウェアをアンインストール(削除)する -Mac OS
ネットワークサービスを使って印刷する
困ったときは
プリンターの状態を確認する
プリンター画面のメッセージを確認する
プリンターの状態を確認する - Windows
プリンターの状態を確認する ‐ Mac OS
ソフトウェアの状態を確認する
詰まった用紙を取り除く
前面カバーから詰まった用紙を取り除く
手差し給紙から詰まった用紙を取り除く
プリンター内部から詰まった用紙を取り除く
背面ユニットから詰まった用紙を取り除く
ADFから詰まった用紙を取り除く
正しく給紙ができない
印刷用紙が詰まる
斜めに給紙される
排出された用紙が排紙トレイから落ちる
印刷途中に排紙される
ADFから給紙できない
電源、操作パネルのトラブル
電源が入らない
電源が切れない
プリンターの画面が暗くなった
コンピューターから印刷できない
接続状態をチェック(USB)
接続状態をチェック(ネットワーク)
ソフトウェアやデータをチェック
エプソン純正プリンタードライバーを確認する
コンピューターでプリンターの状態をチェック(Windows)
コンピューターでプリンターの状態をチェック(Mac OS)
ネットワークの接続設定ができない
ネットワーク接続に問題がないのに機器から接続できない
プリンターが接続している SSID の確認方法
コンピューターが接続しているSSIDの確認方法
有線LAN接続が不安定になる
iPhoneやiPadから印刷できない
印刷結果のトラブル
印刷結果がかすれる、出ない色がある
印刷結果にスジ(線)が入る、色合いがおかしい
約3.3cm間隔で色の付いたスジが入る
文字や罫線がガタガタになる
印刷品質が悪い
印刷用紙が汚れる、こすれる
自動両面印刷すると印刷用紙が汚れる
写真印刷するとインクがベタベタする
ハガキに縦長の写真を印刷すると宛名面と上下が逆になる
印刷位置、サイズ、余白が思い通りにならない
文字が正しく印刷されない、文字化けする
画像が反転する
モザイクがかかったように印刷される
コピー結果にムラやシミ、斑点、線が出る
コピー結果にモアレ(網目状の陰影)が出る
コピーすると裏写りする
印刷結果のトラブルが解決しない
印刷時のその他のトラブル
印刷速度が遅い
連続印刷または連続コピー中に動作速度が極端に遅くなった
Mac OS X v10.6.8から印刷を中止できない
スキャンできない
スキャン品質のトラブル
原稿台からスキャンするとき、色ムラ、汚れ、点などが現れる
ADFからスキャンするとき直線が現れる
画質が粗い
原稿の裏面が写る
文字がぼやける
モアレ(網目状の陰影)が現れる
原稿台で正しい範囲でスキャンできない
検索可能PDFに保存するとき、文字が正しく認識されない
スキャン品質のトラブルが解決しないときは
スキャン時のその他のトラブル
スキャン速度が遅い
PDF/Multi-TIFF形式でスキャンすると動作が止まる
ファクス送受信のトラブル
ファクスの送信も受信もできない
ファクスを送信できない
特定の宛先にファクスを送信できない
指定時間にファクスを送信できない
ファクスを受信できない
メモリー不足のメッセージが表示された
きれいに送信できない
原稿サイズと違うサイズで送信された
きれいに受信できない
受信ファクスが印刷されない
受信ファクスの2ページ目が白紙または数行だけ印刷される
ファクス時のその他のトラブル
プリンターに接続した外付け電話機で通話できない
留守番電話が応答しない
ナンバーディスプレイ機能が働かない
受信文書に相手先のファクス番号が表示されない、またはファクス番号が間違って表示される
その他のトラブル
動作音が大きい
日時、時刻がずれている
ソフトウェアがセキュリティーソフトにブロックされる(Windowsのみ)
インク残量情報更新のメッセージが表示される
インクがこぼれた
付録
プリンターの仕様
プリンター部の仕様
印刷領域
定形紙の印刷領域
封筒(洋形1、2、3、4号)の印刷領域
封筒(長形3、4号)の印刷領域
省資源機能
耐久性(製品寿命)
スキャナー部の仕様
インターフェイスの仕様
ファクス部の仕様
ネットワーク機能一覧
無線LANの仕様
有線LANの仕様
セキュリティーのプロトコル
対応している他社サービス
外形寸法と質量の仕様
電気的仕様
動作時と保管時の環境仕様
対応OS
規格と規制
電源高調波
瞬時電圧低下
電波障害自主規制
著作権
複製が禁止されている印刷物
製品のご注意
本製品の不具合に起因する付随的損害
液晶ディスプレイの特性
タッチパネル使用上のご注意
揮発性物質の放散
電波に関するご注意
無線LAN(Wi-Fi)機能に関するご注意
セキュリティーに関するご注意
本製品を日本国外へ持ち出す場合のご注意
本製品の使用限定
本製品の譲渡と廃棄
プリンターの輸送と保管
商標
サービスとサポートのご案内
エプソンサービスパック
保守サービスのご案内
保証書について
補修用性能部品および消耗品の保有期間
保守サービスの受付窓口
保守サービスの種類
お問い合わせ先
電源を入/切します。
電源コードを抜くときは、電源ランプが消灯していることを確認してから抜いてください。
ホーム画面を表示します。
項目やメッセージを表示します。
ヘルプ画面が表示されます。
未処理(未読や印刷してない、未保存など)の受信文書があるときに点灯します。