
|
|
操作パネル |
プリンターを操作したり、プリンターの状態を表示したりします。 |
|
|
プリンターカバー |
インクの補充や内部に詰まった用紙を取り除くときに開けます。 |
|
|
インクタンクキャップ |
インクタンクにインクを補充するときに開けます。 |
|
|
インクタンク |
プリントヘッドに供給する黒インクを貯蔵します。プリントヘッドの上にあります。 |
|
|
前面カバー |
用紙カセットに用紙をセットする時に開けます。 |

|
|
排紙トレイ |
印刷された用紙を保持します。 |
|
|
用紙カセット |
印刷用紙をセットします。 |
|
|
用紙ガイド |
用紙をまっすぐ送るためのガイドです。用紙の側面に合わせてください。 |
|
|
延長用紙ガイド |
A4より長いサイズの用紙をセットするときに引き出します。 |

|
|
背面ユニット |
詰まった用紙を取り除くときに取り外します。 |
|
|
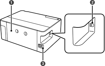
USBポート |
コンピューターと接続するためのUSBケーブルを接続します。 |
|
|
電源コネクター |
電源コードを接続します。 |