قبل از تعویض کارتریجهای جوهر دستورالعملهای زیر را مطالعه کنید.
جوهرهای کارتریج را در دمای اتاق و دور از تابش مستقیم نور خورشید نگهداری کنید.
Epson توصیه میکند که از کارتریج جوهر تا قبل از تاریخ چاپ شده بر روی بسته استفاده کنید.
برای کسب بهترین نتایج، بستهبندیهای کارتریج جوهر را طوری نگهداری کنید که انتهای آنها پایین باشد.
بعد از آوردن کارتریج جوهر از یک مکان نگهداری سرد، اجازه دهید حداقل 12 ساعت قبل از استفاده در دمای اتاق گرم شود.
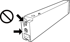
به بخشهایی که در تصویر نشان داده شدهاند دست نزنید. در صورت تماس با این قسمتها ممکن است موجب عدم کارکرد عادی و چاپ شود.

همه کارتریجهای جوهر را نصب کنید در غیر این صورت نمیتوانید چاپ کنید.
در حین پر کردن جوهر، چاپگر را خاموش نکنید. اگر پر کردن جوهر کامل انجام نشود، ممکن است نتوانید چاپ کنید.
چاپگر را در حالیکه کارتریج جوهر را جدا کردهاید رها نکنید، یا چاپگر را در حین تعویض کارتریج خاموش نکنید. زیرا در این صورت جوهر باقیمانده در نازلهای هد چاپ ممکن است خشک شود و نتوانید چاپ کنید.
اگر لازم است موقتاً کارتریج جوهر را بیرون بیاورید، اطمینان حاصل نمایید که منطقه تغذیه را از هر گونه گرد و غبار و آلودگی محافظت نمودهاید. کارتریج جوهر را در همان محل چاپگر نگهداری کنید، طوری که پورت منبع جوهر به سمت کنارهها باشد. چون پورت تغذیه جوهر مجهز به یک سوپاپ طراحی شده برای نگهداشتن جوهر اضافی است، لازم نیست از روکش و درپوشهای خود استفاده کنید.
کارتریجهای جوهر بیرون آورده شده ممکن است موجب ریختن جوهر در اطراف پورت تغذیه جوهر شوند، بنابراین مراقب باشید هنگام بیرون آوردن کارتریج، جوهر در محیط اطراف نریزد.
این چاپگر از کارتریجهای جوهر مجهز به تراشه سبز که اطلاعاتی از قبیل مقدار جوهر باقیمانده برای هر کارتریج را کنترل میکند استفاده مینماید. این بدین معنی است که حتی اگر کارتریج از چاپگر بیرون آورده شده باشد، قبل از باز شدن، هنوز میتوانید بعد از وارد کردن مجدد آن به چاپگر، از آن استفاده کنید.
برای اطمینان از اینکه چاپ با کیفیت بهینه دریافت میکنید و جهت کمک به محافظت از هد چاپ خود، زمانیکه چاپگر شما نیاز به تعویض کارتریج را نشان میدهد، ذخیره ایمنی جوهر متغیر در کارتریج باقی میماند. بازده ذکر شده برای شما شامل این جوهر ذخیره شده نمیشود.
با اینکه کارتریجهای جوهر ممکن است حاوی مواد بازیافت شده باشد، این مواد بر عملکرد یا کارآیی چاپگر تأثیری نمیگذارد.
مشخصات و شکل ظاهری کارتریج جوهر، ممکن است بدون اطلاع قبلی جهت بهبود تغییر کند.
کارتریج جوهر را باز نکنید یا شکل آن را تغییر ندهید، در غیر این صورت ممکن است نتوانید بصورت عادی چاپ کنید.
بازده ذکر شده ممکن است بسته به تصاویری که چاپ میکنید، نوع کاغذ، تعداد چاپ و شرایط محیطی از قبیل دما بستگی داشته باشد.
آن را زمین نیندازید، یا با اشیاء سخت ضربه نزنید، در غیر این صورت ممکن است جوهر نشت کند.
مقداری جوهر از همه کارتریجها نه تنها در طول چاپ بلکه در حین عملیات مراقبت و نگهداری از جمله تمیز کردن هد چاپ مصرف میشود.
جوهر کارتریج جوهر ارائه شده به همراه چاپگر شما تا حدی در مراحل اولیه نصب استفاده میشود. به منظور تولید چاپ با کیفیت بالا، هد چاپ چاپگر شما ممکن است کاملاً با جوهر پر شود. این فرآیند خاموش-روشن مقداری جوهر مصرف میکند و بنابراین این کارتریج ممکن است موجب چاپ صفحات کمتر نسبت به کارتریجهای جوهر بعدی شوند.